Основы безопасной эксплуатации автомобиля
Руководство по эксплуатации автомобиля LADA Granta
Основы безопасной эксплуатации автомобиля
Ваша безопасность и охрана среды обитания зависят от технической исправности Вашего автомобиля и соблюдения правил его эксплуатации. Нижеприведенные рекомендации в значительной степени повысят Вашу безопасностьна дорогах и позволят сохранить транспортное средство в исправном состоянии.

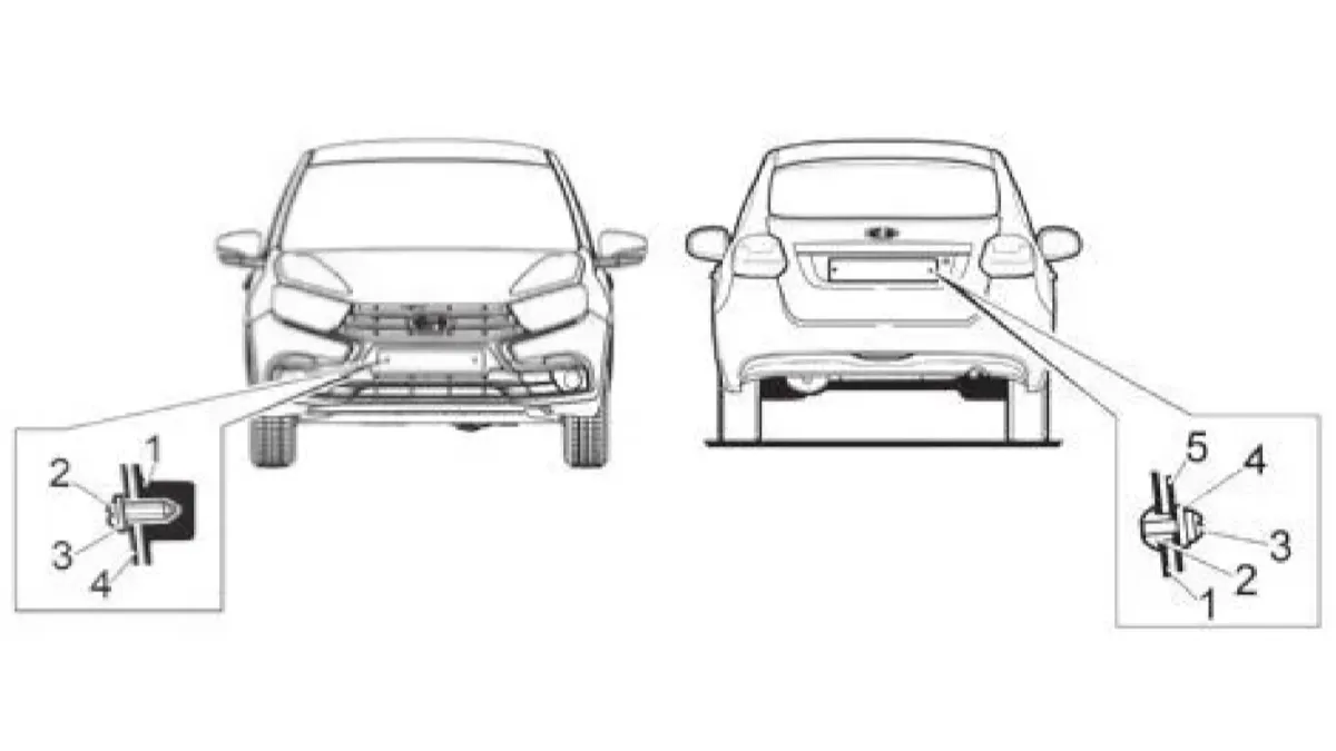
Рис. 41. Крепление номерных знаков
Установка номерных знаков
На автомобиле с кузовом «седан» передний и задний номерные знаки 4 (рис. 41) крепятся двумя самонарезающими винтами 2 с шайбами 3. На автомобиле с кузовом «хэтчбек» передний номерной знак крепится аналогично; перед установкой заднего номерного знака 5 (рис. 41а) вставьте в отверстия задней стенки 1 пластмассовые втулки 2, установите номерной знак 5 и закрепите его самонарезающими винтами 3 с шайбами 4.
Меры предосторожности при эксплуатации автомобиля
- Не превышайте нагрузки автомобиля, указанной в данном руководстве. Перегрузка приводит к повреждению элементов подвески, преждевременному износу шин и к потере устойчивости автомобиля.
- Не допускайте быстрой езды по дорогам с нарушенным покрытием, так как резкие удары могут деформировать детали силового агрегата, кузова и подвески.
- В случае сильных ударов (например, при наезде на бордюр), во избежание создания внезапной аварийной ситуации, обратитесь к дилеру LADA для проверки состояния автомобиля.
- Регулярно проверяйте состояние защитных резиновых чехлов рейки рулевого механизма, шаровых опор, тяги переключения передач, шарниров привода передних колес, а также защитных колпачков шарниров рулевых тяг. Если чехол или колпачок поврежден, неправильно установлен или скручен, то в шарнир или механизм будут проникать пыль, вода и грязь, что вызовет их усиленный износ и разрушение.
- Поэтому поврежденный чехол или колпачок немедленно заменяйте новым, а неправильно установленный или скрученный – поправьте.
- С целью снижения уровня вибраций, передаваемых от передней подвески на рулевой механизм, картер рулевого механизма крепится к щитку кузова через резиновые опоры. Конструктивно заложенная эластичность соединения допускает подвижность картера относительно кузова.
Чтобы избежать работы двигателя с излишне высокой частотой вращения при движении автомобиля своевременно переключайте передачи. Тем самым Вы уменьшите износ двигателя и снизите расход топлива.
Не забывайте регулярно проверять давление воздуха в шинах, так как эксплуатация шин с давлением, отличающимся от рекомендованного, приводит к их преждевременному износу, увеличению расхода топлива, а также к ухудшению устойчивости и управляемости автомобиля.
На автомобиле установлен трос привода сцепления с механизмом компенсации износа накладок сцепления, благодаря которому исключена ручная регулировка привода за весь срок службы накладок. Во избежание пробуксовки сцепления, после переключения передачи и включения сцепления снимите ногу с педали.
На автомобилях, оборудованных электроусилителем рулевого управления (в вариантном исполнении), при достижении крайних положений поворота рулевого колеса появление незначительного стука не является признаком неисправности.Постоянно следите за чистотой клемм и зажимов аккумуляторной батареи и за надежностью их соединения. Помните, что окисление клемм и зажимов, а также ненадежное соединение вызывают искрение в месте ненадежного контакта, что может привести к выходу из строя электронного оборудования автомобиля. Также не допускается проверять работоспособность генератора при работающем двигателе путем снятия зажимов с аккумуляторной батареи.
- Кроме того, не рекомендуется проверять цепи высокого напряжения «на искру», так как это может привести к выходу из строя элементов системы зажигания. При техническом обслуживании автомобиля с 8-клапанным двигателем проверяйте надежность соединений высоковольтных проводов с катушками и свечами зажигания.
- Демонтаж высоковольтных проводов с приборов системы зажигания осуществляйте только за защитный колпачок. Демонтаж за высоковольтный провод не допускается!
- Во избежание разрядки аккумуляторной батареи при неработающем двигателе не оставляйте на длительное время ключ в выключателе зажигания.
- Избегайте резкого открывания дверей в конце их хода. Не оставляйте незакрытыми двери на остановке при сильном ветре, чтобы избежать деформации передних кромок дверей. Зимой, когда слой льда или снега на опускных стеклах затрудняет их передвижение, не применяйте чрезмерных усилий при вращении ручки, чтобы не повредить механизм стеклоподъемника. Для предотвращения выхода электростеклоподъемников из строя обязательно очищайте стекла дверей от льда и снега.
Эксплуатация нового автомобиля
- Во время обкатки нового автомобиля до пробега первых 2000 км:
- после пробега первой тысячи километров проконтролируйте затяжку болтов крепления колес и, при необходимости, подтяните до достижения крутящего момента 87,7 Н•м;
- при движении автомобиля, не превышайте скорость 110 км/час и частоты вращения коленчатого вала двигателя 3500 мин-¹;
- при движении автомобиля не превышайте скоростей, указанных в таблице 2;
- своевременно, в соответствии с дорожными условиями, включайте высшие передачи в коробке передач, избегая перегрузки двигателя;
- не производите буксировки прицепа или другого автомобиля;
- режимы движения – резкое трогание с места, в том числе с включенным ручным тормозом, разворот с пробуксовкой передних колес при максимальных оборотах двигателя – не допускается, так как это приводит к повреждению дифференциала.
| Пробег, км | первая передача | вторая передача | третья передача | четвертая передача | пятая передача |
|---|---|---|---|---|---|
| 0–500 | 20 | 40 | 60 | 80 | 90 |
| 500–3000 | 30 | 50 | 70 | 90 | 110 |
Подготовка автомобиля к движению
- Для этого:
- Проверьте и доведите до нормы давление воздуха в шина (см. табл. 3a).
- Проверьте уровень масла в картере двигателя и при необходимости доведите его до нормы.
- Проверьте уровни охлаждающей, тормозной и омывающей жидкостей и при необходимости доведите их до нормы.
- Проверьте исправность ламп внешних световых приборов и их чистоту.
- Проверьте функционирование системы стеклоочистки.
- Проверьте правильность установки зеркал, сидений и ремней безопасности.
- Проверьте исправность рабочей тормозной системы (отсутствие провала педали тормоза) и стояночной тормозной системы (фиксацию рычага стояночного тормоза). Наличие следов масел и эксплуатационных жидкостей под автомобилем свидетельствует о негерметичности его узлов и агрегатов. В этом случае необходимо обратиться к дилеру LADA для выявления и устранения причин их появления.
Посадка водителя за рулем

Рис. 12. Регулировка положения рулевого колеса
Регулировка положения рулевого колеса
В вариантном исполнении на автомобиле устанавливается регулируемая по углу наклона рулевая колонка. Для выбора оптимального положения рулевого колеса опустите блокирующую рукоятку 1 (рис. 12) вниз и, после установки рулевого колеса в желаемое положение, зафиксируйте рулевую колонку перемещением рукоятки в крайнее верхнее положение.